* Макс. вместимость теста
(не ферментированное тесто) (кг) - (фунт)
8 (17,70)
Расстояние между роликами (мм) - (в)
0-40 (0-1 9/16)
Мощность (кВт) - (л.с.)
400 ~ 230 В.3ph-50 ~ 60 Гц 1 Скорость 0,55 (0,8)
400 ~ 230 В.3ph-50 ~ 60 Гц 20 Скоростей 0,75 (1)
230 ~ 110V.1ph.50 ~ 60 Гц 20 Скорости 0,75 (1)
Вес нетто (кг) - (фунт)
174 (383,60)
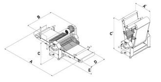
Размеры (мм) - (в)
A 1900 (74 13/16) A ’860 (33 7/8)
B 960 (37 13/16) C 825 (32 1/2)
C ’1000 (39 3/8) D 500 (19 11/16)
Е 300 (11 13/16)
* Минимальная толщина листа: 2 мм (в зависимости от типа теста)